logo

智慧售后设备维修管理系统操作手册

PC端

请先关注我们的公众号,以便于接收售后信息的及时推送。

售后端进入界面。

简介: 在设备买卖市场中,买方购买设备后,需要卖出提供技术支持,上门安装、售后等服务,在此过程中双方通过电话,微信等方式联络,沟通并预约售后服务,此过程中卖方的及时回复、处理速度是口碑的重要依据。

设备厂商中,客服部与维修部若无法达到信息互通,就无法及时响应客户,无法给予客户满意的服务。

智慧售后,皆为解决企业在售后过程中的人员管理、信息互通。

前言

售后服务是围绕着商品销售过程而开展的配套服务体系。做好售后服务工作,是商业企业销售服务工作的一个重要组成部分,也是整个商品交易过程的一个重要组成部分。有远见的企业家和销售商,对于具有延续性销售作用的商品之售后服务,更是要加以重视。事实证明,售后服务的好坏,不仪关系到企业的声誉、商品形象,更关系到顾客对商品的再次购买。在当今日趋激烈的市场中,企业必须明确“销售就是服务”。服务是以质为重,而不仅是以“量”取胜,这就要求企业在售后服务中必须做到规范化,同时这也是服务业发展的必然趋势。 业务流程 img

一,登录

【操作步骤】

1

2

二、中控台

3

智能BI

【功能说明】

数据看板展示

4

智能BI看板

5

大屏实时数据查看。支持看板时间自定义

三、 系统设置

【功能说明】

人员管理

【操作步骤】
新增人员

6

7

备注:新增人员信息页面带*号为必填项。

删除人员

8


角色和权限
参数设置

【功能说明】

9

用户详情

10

四、客户管理

11

备注:带*号为必填项。


12

13

编辑客户

14

禁用客户

15

五, 设备管理

设备分类

16

设备型号

17

批量导入、导出设备型号

18

19

设备台账

批量导入、导出设备台账

21

打印设备售后码

22

24

六、维修管理

25

 

维修知识库/历史维修

26

维修类型

自修记录

image-20220902151859186

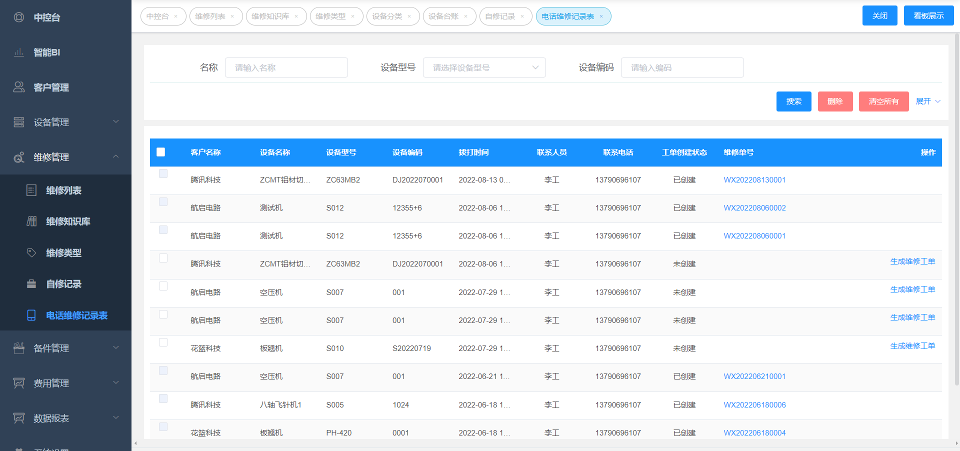
电话维修记录表

29

七、备件管理

批量导入、导出仓库


新增备件

32

批量导入、导出备件

33

备件审批

备件返仓

image-20220903143339011

库存清点

image-20220903144111536

库存明细

37

八、费用管理

新增费用类型

九,工单费用

十、数据报表

40

41

42

43

44

45

image-20220903152527523

image-20220903152939686

image-20220903153359438